ISO-KF Flange Adapter Tee, NW40 Flange to 0.25 in. Female NPT, S.S.
Model: 100319605
ISO-KF Flange Adapter Tee, NW40 Flange to 0.25 in. Female NPT, S.S.
Model: 100319605

Overview
Overview
The 100319605 ISO-KF Stainless Steel Flange Adapter Tee is used to create a 1/4 inch female NPT (National Pipe Taper) branch port in NW40 size ISO-KF vacuum piping systems. Series 31 ISO-KF vacuum components are designed for use at subatmospheric pressure and use standard interface dimensions defined by the International Standards Organization (ISO) allowing them to be interchangeable with other ISO-KF compliant components. Series 31 components can be used as modular building blocks to create vacuum piping systems. IS-KF flanges are "sexless" with a symmetrical seal so that so that components are rotatable. ISO-KF vacuum flanges are joined by inserting a centering ring between the two flange faces, and securing them with a flange encompassing clamp.
Technical Specs
- Component TypeFemale NPT Pipe Adapter
- SeriesSeries 31
- Material304 Stainless Steel
- Flange TypeISO-KF
- Flange SizeNW40
- NPT Fitting Size0.25 in. Female
- Length1.57 in. (40 mm)
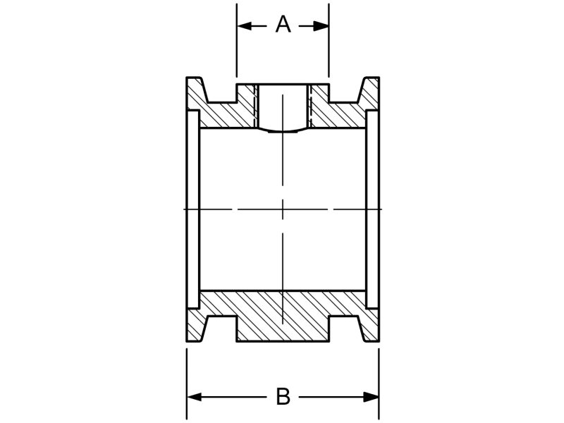
- Dimension "A"0.76 in.
- Dimension "B"1.57 in.

Technical Specs
- Component TypeFemale NPT Pipe Adapter
- SeriesSeries 31
- Material304 Stainless Steel
- Flange TypeISO-KF
- Flange SizeNW40
- NPT Fitting Size0.25 in. Female
- Length1.57 in. (40 mm)
- Dimension "A"0.76 in.
- Dimension "B"1.57 in.

