ISO-MF Flange Adapter, NW63 ISO-MF to NW40 ISO-KF, Conical Profile
Model: 100765006
ISO-MF Flange Adapter, NW63 ISO-MF to NW40 ISO-KF, Conical Profile
Model: 100765006

Overview
Overview
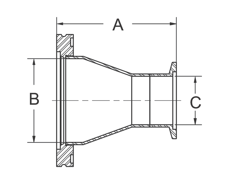
The 100765006 ISO-MF Flange Adapter is used to adapt a NW63 size ISO-MF flange to a size NW40 ISO-KF vacuum flange. This Series 76 adapter features a high conductance conical profile reducer and is made of 304 stainless steel.
Technical Specs
- Component TypeConical Adapter
- SeriesSeries 76
- Flange TypeISO-MF
- Flange SizeNW63
- Flange Size 2NW40 ISO-KF
- Material304 Stainless Steel
- Length3.39 in. (86 mm)
- Inner Diameter2.37 in. (60 mm)
- Inner Diameter 21.37 in. (35 mm)
- Dimension "A"3.39 in.
- Dimension "B"2.37 in.
- Dimension "C"1.37 in.

Technical Specs
- Component TypeConical Adapter
- SeriesSeries 76
- Flange TypeISO-MF
- Flange SizeNW63
- Flange Size 2NW40 ISO-KF
- Material304 Stainless Steel
- Length3.39 in. (86 mm)
- Inner Diameter2.37 in. (60 mm)
- Inner Diameter 21.37 in. (35 mm)
- Dimension "A"3.39 in.
- Dimension "B"2.37 in.
- Dimension "C"1.37 in.

