Conical Reducer, ISO-MF Flange Size NW160 to NW100, 304 Stainless Steel
Model: 100764910
Conical Reducer, ISO-MF Flange Size NW160 to NW100, 304 Stainless Steel
Model: 100764910

Overview
Overview
The 100764910 Conical Reducer is used to reduce a NW160 size ISO-MF vacuum flange to a size NW100 ISO-MF flange and is made of 304 stainless steel. This flange size reducer features a high conductance conical profile between the two ISO-MF flange sizes. Series 76 ISO-MF components feature a vacuum flanging system for 63 mm to 630 mm fittings with flange dimensions meeting the requirements established by the International Standards Organization (ISO). They function as modular building blocks in vacuum piping systems and are compatible with ISO compliant components from other manufacturers. ISO-MF flanges are “sexless” with the seal on a symmetrical centering ring that interfaces with two identical size ISO flanges. ISO-MF flanges are more compact than ASA flanges, which were designed for pressure and are unnecessarily massive for vacuum use. The Series 76 ISO-MF flanges can be joined to other ISO-MF flanges using double claw clamps, to ISO-BF flanges using a rotatable bolt ring, nuts, and bolts, or to a tapped flange using single claw clamps. Applications ISO universal components include roughing and foreline plumbing, high-vacuum, high-conductance interconnections, modular systems needing frequent modifications, and research laboratories.
Technical Specs
- Component TypeReducer
- SeriesSeries 76
- Flange TypeISO-MF
- Flange SizeNW160
- Flange Size 2NW100
- Material304 Stainless Steel
- Inner Diameter5.78 in. (147 mm)
- Inner Diameter 23.83 in. (97 mm)
- Length9.52 in. (242 mm)
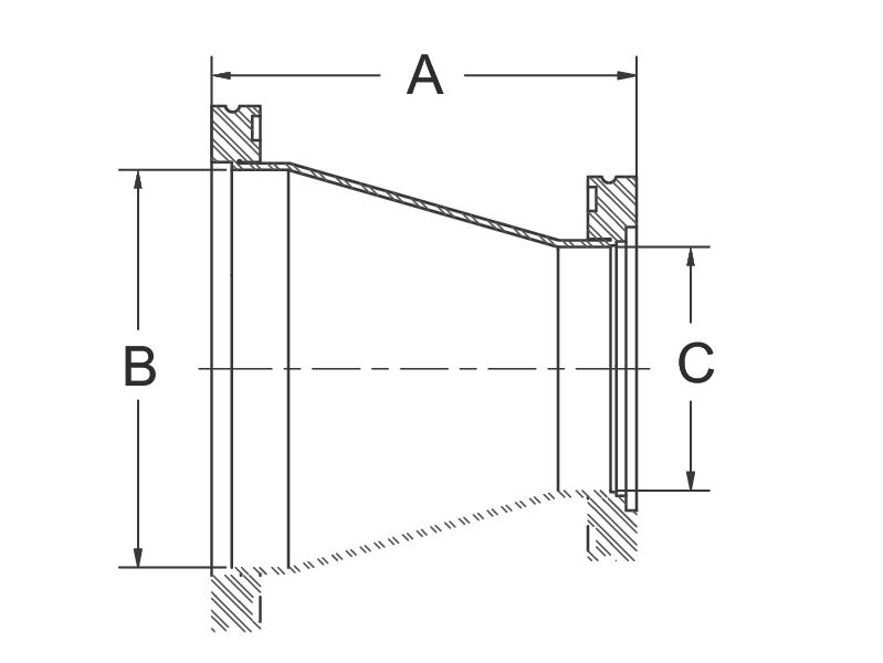
- Dimension "A"9.52 in.
- Dimension "B"5.78 in.
- Dimension "C"3.83 in.

Technical Specs
- Component TypeReducer
- SeriesSeries 76
- Flange TypeISO-MF
- Flange SizeNW160
- Flange Size 2NW100
- Material304 Stainless Steel
- Inner Diameter5.78 in. (147 mm)
- Inner Diameter 23.83 in. (97 mm)
- Length9.52 in. (242 mm)
- Dimension "A"9.52 in.
- Dimension "B"5.78 in.
- Dimension "C"3.83 in.

